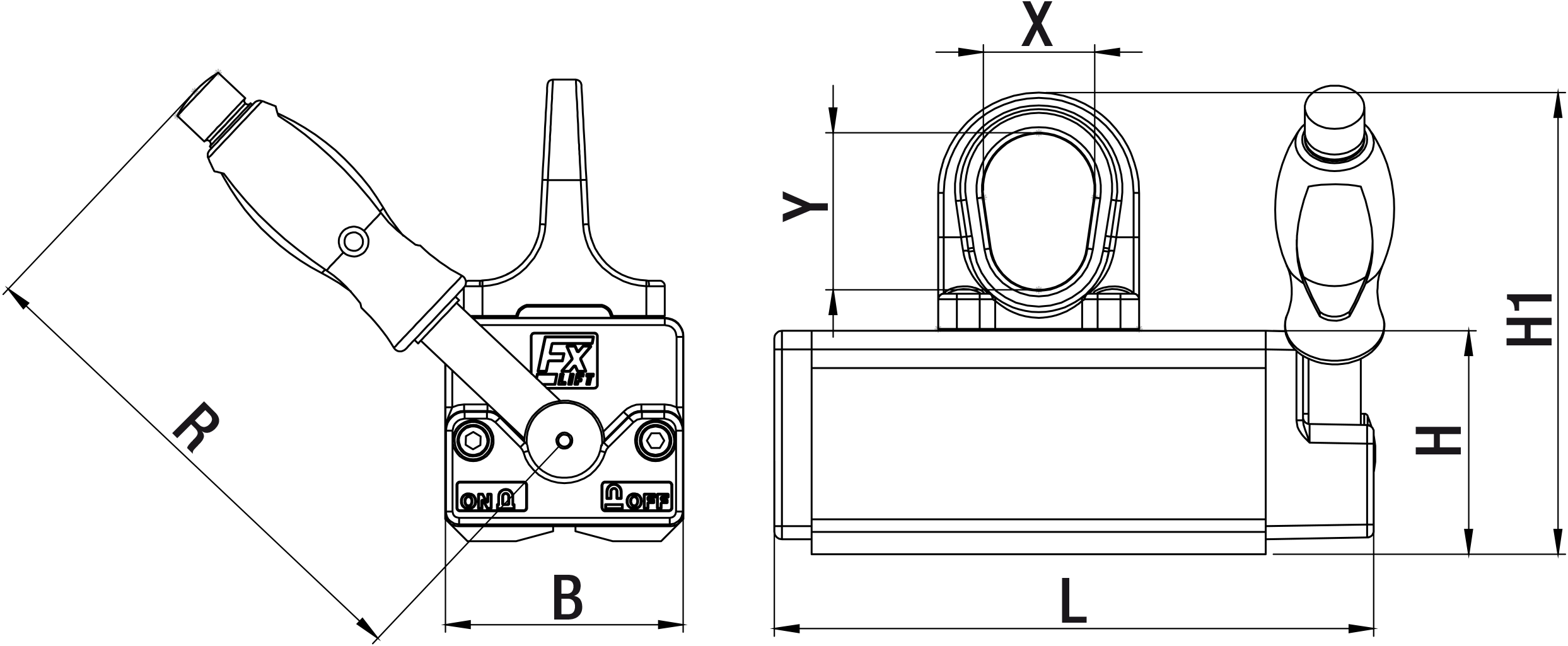
FX – SOLLEVATORI MAGNETICI PERMANENTI UNIVERSALI

Sollevatori magnetici universali