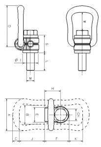
GOLFARE GIREVOLE CON STAFFA

Tiro a 90° con minimo ingombro. Disponibile, su richiesta, filettatura e lunghezza gambo fuori standard.

Disponibile anche nella versione con vite intercambiabile; in caso di sostituzione della vite, utilizzare viti con caratteristiche meccaniche uguali a quella fornita in dotazione al pezzo.

WORKING LOAD LIMIT W.L.L. (t)